您好,欢迎来到易亚电商!
#

直通车一直在亏钱?天猫代运营3招提高投产比摆脱亏损!

发布日期:2019-09-20 16:16   作者:天猫代运营

我们都知道直通车是最直接的推广方式也是最费钱的,每个人都想做好的自己的直通车,把握好花费,直通车每天都亏钱我们应该怎么办呢?3招教你解决!

说到推广不亏钱,很多人就觉得可能吗?

今天天猫代运营就带着大家实操一下,教大家怎么做到推广时候不亏钱,或者说比原来的推广情况好很多,有很大的改善。首先我们要想推广不亏钱,那么肯定不能盈利小于投入进去的费用,也就是说投产比不能太低!

                                                             

那么怎样看你的投产比做到多少才是不亏钱?

投产比盈亏平衡值计算=1/你的利润率比如我的利润率是25%,那我的投产比就是4,,做不到4我就是亏本的。

这时候我就应该去调整我的直通车了,当然我们不是说你一调整就能马上赚,但是你去把它调的更好,肯定是可以少亏一点,让你的推广更好一点的。

原来0.5的投产比我们往0.8调,原来0.8的我们往1.5调,调着调着你就发现你开始赚了。

我在大家的直通车后台看得特别多,同学们的大致情况我还算了解的,有一部分同学出现的情况就是投产比1比零点几,这就是亏的蛮厉害的,还有些投产比1:1的,这就基本上相当于免费白送了。

那么我们如何快速提升这个投产比呢?

首先要提升投产比,我们要搞清楚投产比的相关因素是什么。

投产比=成交/花费。

天猫代运营希望通过这个公式让大家可以看出来,我们要想提高投产比,要么就增加成交,要么就降低花费!

大家觉得哪个比较好调整呢?经过大量的实操看来,相对来说【花费】更加好调整一点。

因为如果要加大成交量,流量、转化率、客单价你都得调,这个在短时间内是调整不了的,而且调整流量又要加大花费,那你投产比还是上不去!

但如果我们调整花费,把那些没转化的关键词删掉,或者降低出价,虽然会减少一部分流量但是我还可以去做多一点关键词呀!

                                                               

说到花费,既然是推广,钱肯定要花在对的地方。而不是一味的我删词、降低出价,这对你来说并没有好处!

天猫代运营要说的目的是在投产比调的更好的情况下,对自然流量没影响!

什么叫做对的地方?

1.对的产品

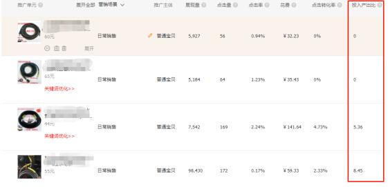
我们看下面这几个宝贝,如果是你来操作,你会选择哪一个宝贝加大推广。

肯定选择投产比高的宝贝,这个宝贝投产好,流量增加,销量就会上来,免费流量也会上来一些!

这里天猫代运营相信有同学可能会问,为什么不看转化率?

因为转化率跟出价有关系!出价高可能会让你的投产比变低。

你们看这个投产8.45的宝贝,相当于花了50多块钱,成交了500多块的金额,而投产比5.36的宝贝,相当于花了141块钱,成交了759块,成交相差不多,但是花费却高出2-3倍!

所以我们在有数据之后,重点看投产比!

                                                             

2.对的词。

不管我们的推广做成什么样子,总有几个关键词是赚钱的。

那么首先第一步,我们把这些成交比较好的关键词给它们加价,拓展它们的流量,成交会加的更多,投产比这时候会加的更多。

我们看这几个推广关键词,投产比,高于2的,赚钱,那我们给它加价,低于2的,有点亏我们给它降价。

一定要有加有减,因为我们的目的是在同样的花费下让你赚更多!然后提升免费流量!

不能说直接不推了,因为你在只减不加的情况下,可能会造成免费流量下降!

你本来是通过那些词推广成交的这些笔数就没有了。

有些同学很犹豫点击率高的词但是没转化的词要不要继续做。

这里给大家说一下,点击率高的词不一定好!因为它受平台、渠道、人群的影响!

点击率我们要尽量做高它,但不是说点击率高就一定是好。核心数据还是看投产!

                                                                 

这里需要注意看数据的时间,一般来说转化时间我们看15天累计的,其他的数据建议大家尽可能选择长时间的数据,你调整的很频繁至少要看1个月的数据,如果你调整频次太高,数据会被打乱!这时你其实看不到在哪个数据的表现下最好,所以要想数据相对精准,时间线就得拉长!

                                                                

3.多久调整一次、价格升降多少?

如果花费不大,就不要太频繁的去调整,一段时间调整得稳定了,就长时间去看数据。

这里给出大家一个标准:花费在3000以上的,可以一周调一次,3000以下则两周调一次。

至于出价的升降,不要看着某个词投产比高,你直接给它翻5倍!这样做有可能会亏!

有一些数据样本比较小,你稍微加一点价给它多一点流量就好!10%的上下浮动即可!
天猫代运营:http://www.yiyaweb.com/list_tianmao.html

上一篇:淘宝代运营教你分享数据让直通车少花冤枉钱
下一篇:店铺没有权重?店铺没有粉丝?网店代运营教你来做
返回
搜索电商
淘宝
天猫
京东
拼多多
内容电商
抖音
小红书
直播
短视频
跨境电商
天猫国际
京东国际
考拉海购
店铺代入驻
增值服务
数据分析
营销推广
视觉设计
客服外包
联系方式
联系方式
扫一扫,添加微信
在线咨询 微信咨询 电话咨询